V6.0L10、ListWORKS、LISTVIEWのSEの環境からEEの保管フォルダの共有運用、または、クラスタシステムでの運用を行う環境に移行する場合の移行手順を説明します。
保管フォルダの共有運用を行う環境への移行手順とクラスタシステムでの運用を行う環境への移行手順は、基本的に同じです。
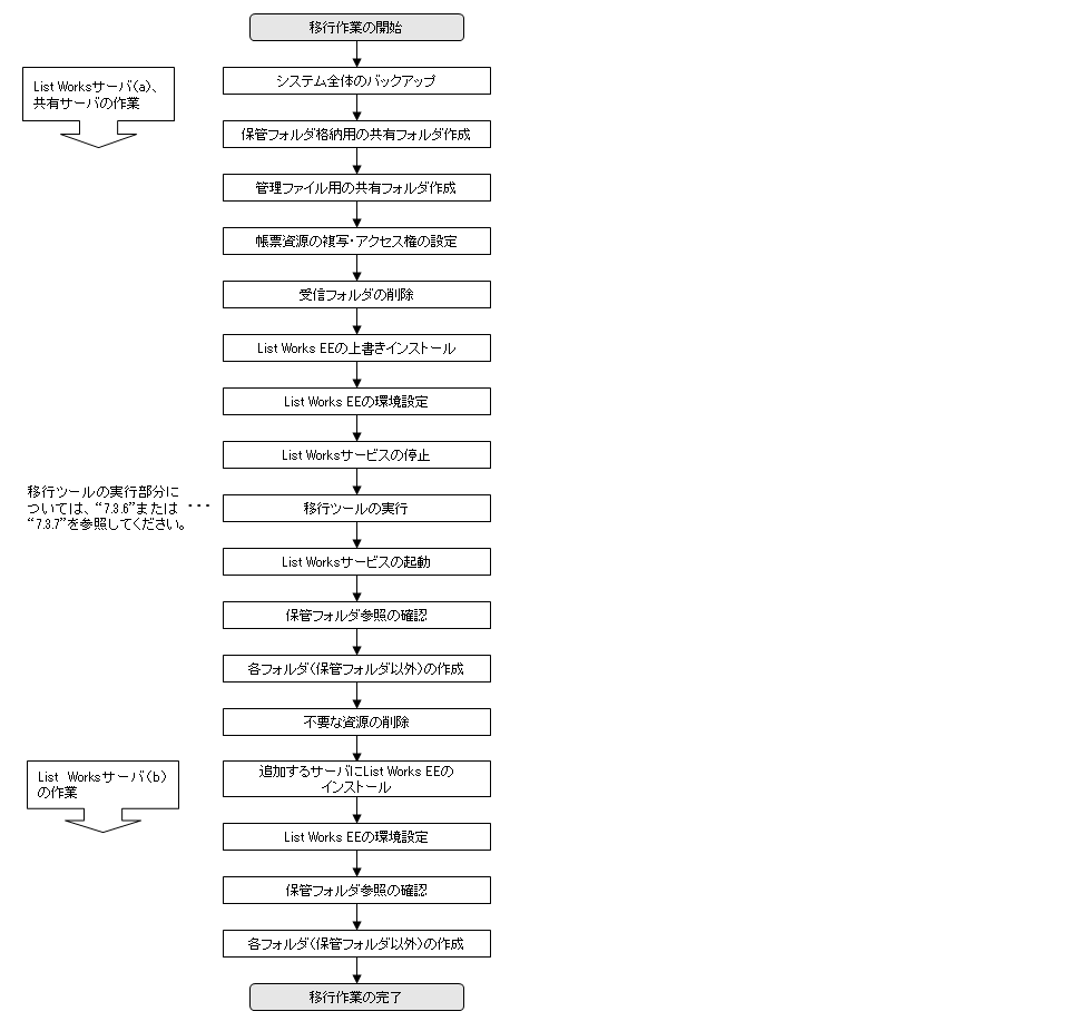
移行手順を、以下の構成で保管フォルダの共有運用を行う場合を例に説明します。

移行対象のList WorksサーバをList Worksサーバ(a)とします。
追加するList WorksサーバをList Worksサーバ(b)とします。

(1) List Worksサーバ(a)、共有サーバの作業
List Worksサーバ(a)の環境をシステム全体でバックアップします。システム全体のバックアップは、Windowsシステムの機能を使用してバックアップします。
| バックアップについては、“Windowsシステムのマニュアル”を参照してください。 |
共有サーバに、保管フォルダを格納するためのフォルダを作成して共有します。管理者とリスト管理サーバを利用する一般ユーザに対してフルコントロールの権限を許可するように、共有フォルダのアクセス権を設定してください。
フォルダ作成の例)\\Server\Shared\Data Server:サーバ名 Shared:共有名 Data :フォルダ名
注意
保管フォルダを作成する共有サーバとリスト管理サーバは、同じドメインに属する必要があります。
共有サーバに、保管フォルダを管理するファイルの格納場所を作成して共有します。管理者とリスト管理サーバを利用する一般ユーザに対してフルコントロールの権限を許可するように、共有フォルダのアクセス権を設定してください。
フォルダ作成の例)\\Server\Shared\Manage Server:サーバ名 Shared:共有名 Manage:フォルダ名
移行元サーバ上の以下の資源を、エクスプローラなどでフォルダごと、共有サーバの任意の場所に複写します。
移行前の状態を保持するため、複写した資源に対して、移行元と同じアクセス権を設定します。移行先サーバに登録されていないユーザがある場合は、ユーザ登録をします。
移行対象の資源 | 移行元 | 移行先 |
|---|---|---|
保管フォルダ/帳票データ(関連ファイルを含む) | リストナビから各保管フォルダのプロパティを選択し、【詳細】タブの「フォルダの場所」に示されるフォルダを含んだ配下すべて | 「保管フォルダ格納用の共有フォルダ作成」で作成したフォルダ配下 |
オーバレイ/帳票項目 | リストナビから【リスト管理サーバオプション】を選択し、【作業ファイル】タブの「オーバレイ」に示されるフォルダ配下すべて | 「管理ファイル用の共有フォルダ作成」で作成したフォルダ配下 |
リストナビで、List Worksサーバ(a)の受信フォルダをすべて削除します。
注意
受信フォルダの振り分け条件を定義している場合、リストナビで受信フォルダの振り分け条件の設定を確認し、メモなどで設定内容を控えてください。受信フォルダを削除した後は、確認することができません。
List Works サーバ(a)にList Works EEを上書きインストールするまえに、Interstage Application Serverの準備をします。
List Works EEと連携可能なInterstage Application Serverを確認し、運用に合わせてInterstage Application Serverのインストールおよびセットアップをします。
Interstage Application Serverの準備ができたら、List Works EEを上書きインストールします。
| List Works EEと連携可能なInterstage Application Serverのバージョンなど、バージョン決定に必要な情報や、製品に同梱しているInterstage Application Serverのインストールおよびセットアップについては、“インストールガイド”を参照してください。 List Works のインストールについては、“2.2 必要なソフトウェアのインストール”および“インストールガイド”を参照してください。 |
保管データベースの環境設定やリスト管理サーバの環境設定を実施します。
リスト管理サーバの環境設定では、【リスト管理サーバ環境設定】ダイアログボックスの【データベース】タブの設定と接続確認は必ず行ってください。
リスト管理サーバの環境設定の実施後は、List Worksサーバ、または、List Worksサービスを再起動します。
注意
リスト管理サーバの環境設定について
【保管フォルダ共有】タブの設定
保管フォルダを管理するファイルの格納場所(共有フォルダ)を指定します。
保管フォルダを管理するファイルの格納場所は、“手順3:管理ファイル用の共有フォルダ作成”で作成した共有フォルダの場所を指定します。
保管フォルダの共有運用を行う場合は、以下のように、必ず共有名の配下にあるフォルダをUNC名(\\Server\Shared\Manage)で指定してください。
\\サーバ名\共有名\保管フォルダを管理するファイルを格納するフォルダ名
クラスタシステムでの運用を行う場合は、共有ディスク(フェールオーバー クラスター マネージャーで設定してある物理ディスク)のフォルダ名をドライブ指定で設定してください。共有ディスクがIPv6環境の場合、UNC名のサーバ名には、ホスト名を指定してください。
【データベース】タブの設定
ホスト名に、保管データベースの存在するホスト名を指定します。ポート番号には、保管データベースの作成時に指定したポート番号を指定します。
SEの環境でWeb連携機能を使用していた場合は、再度、Web連携の環境設定を実施します。Web連携の画面やプロパティをカスタマイズしていた場合は、バックアップしたJSPファイルや環境設定ファイルをもとに、ファイルを編集します。
注意
ListWORKS V10.0L10以前において同時接続利用者数の初期値を変更して使用していた場合には、バージョンアップ後に、【List Works Web連携環境設定】ダイアログボックスの【接続】タブで同時接続利用者数を設定し直す必要があります。
ListWORKS V10.0L20以前、または List Works V6.0L10で、Web連携機能APIのJavaクラス(ListConfig)の「getApplicationURL」、または「getServletURL」メソッドを使用しているJSPファイルを本バージョンで扱う場合は、【List Works Web連携環境設定】ダイアログボックスの【互換】タブで、WWWサーバのURLを指定する必要があります。
| 保管データベースの環境設定、リスト管理サーバやWeb連携などのList Worksの環境設定については、“第2章 List Worksサーバの環境構築 <Windows版の場合>”を参照してください。 |
【スタート】メニューの【管理ツール】-【サービス】からサービスマネージャを起動し、List Worksサービスを停止します。
移行情報ファイルに保管フォルダの情報を設定して、移行ツールを実行します。
| 移行ツールの概要や実行手順については、“7.3.5 移行ツールの説明”を参照してください。 |
注意
移行先の保管フォルダは、以下のように指定します。
保管フォルダの共有運用を行う場合
共有ディスクをUNC名(\\サーバ名\~)で指定します。共有ディスクがIPv6環境の場合、UNC名のサーバ名には、ホスト名を指定してください。
クラスタシステムでの運用を行う場合
共有ディスク(フェールオーバー クラスター マネージャーで設定してある物理ディスク)のフォルダ名をドライブ指定で設定します。
【スタート】メニューの【管理ツール】-【サービス】からサービスマネージャを起動し、List Worksサービスを起動します。
リストナビを起動して、List Worksサーバ(a)に接続し、保管フォルダが参照できることを確認します。参照できなかった場合は、移行手順を見直してください。
List Worksサーバ(a)に、受信フォルダ、印刷フォルダ、ファイリングフォルダを再作成します。受信フォルダの振り分け先が保管フォルダの場合、共有された保管フォルダを振り分け先として設定します。
| 各フォルダの作成については、“2.6 リスト管理サーバの各フォルダ作成”を参照してください。 |
List Worksサーバ(a)上の保管フォルダとオーバレイが不要の場合は、エクスプローラなどで削除します。
(2) List Worksサーバ(b)の作業
追加するサーバ(List Worksサーバ(b))にList Works EEをインストールするまえに、Interstage Application Serverのインストールおよびセットアップをします。
Interstage Application Serverの準備ができたら、List Works EEをインストールします。
| 製品に同梱しているInterstage Application Serverのインストールおよびセットアップについては、“インストールガイド”を参照してください。 List Works のインストールについては、“2.2 必要なソフトウェアのインストール”および“インストールガイド”を参照してください。 |
保管データベースの環境設定やリスト管理サーバの環境設定を実施します。
リスト管理サーバの環境設定では、【リスト管理サーバ環境設定】ダイアログボックスの【データベース】タブの設定と接続確認は必ず行ってください。
Web連携機能を使用する場合は、Web連携の環境設定を実施します。
注意
リスト管理サーバの環境設定について
【保管フォルダ共有】タブの設定
保管フォルダを管理するファイルの格納場所(共有フォルダ)を指定します。フォルダには、リスト管理サーバを利用する管理者と一般ユーザに対して、フルコントロール権限が必要です。
保管フォルダを管理するファイルの格納場所は、“(1) List Worksサーバ(a)、共有サーバの作業”の“手順3:管理ファイル用の共有フォルダ作成”で作成した共有フォルダの場所を指定します。
保管フォルダの共有運用を行う場合は、以下のように、必ず共有名の配下にあるフォルダをUNC名(\\Server\Shared\Manage)で指定してください。共有ディスクがIPv6環境の場合、UNC名のサーバ名には、ホスト名を指定してください。
\\サーバ名\共有名\保管フォルダを管理するファイルを格納するフォルダ名
クラスタシステムでの運用を行う場合は、共有ディスク(フェールオーバー クラスター マネージャーで設定してある物理ディスク)のフォルダ名をドライブ指定で設定してください。
【データベース】タブの設定
ホスト名に、保管データベースの存在するホスト名を指定します。ポート番号には、保管データベースの作成時に指定したポート番号を指定します。
リストナビを起動して、List Worksサーバ(b)に接続し、保管フォルダが参照できることを確認します。参照できなかった場合は、移行手順を見直してください。
List Worksサーバ(b)に、受信フォルダ、印刷フォルダ、ファイリングフォルダを作成します。受信フォルダの振り分け先が保管フォルダの場合、共有された保管フォルダを振り分け先として設定します。
| 各フォルダの作成については、“2.6 リスト管理サーバの各フォルダ作成”を参照してください。 |