It is necessary to set zoning between the virtualization switch and storage for physical disks you want to have virtualized.
Setting zoning between the virtualization switch and storage
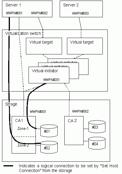
It is necessary to protect physical disks you want to have virtualized by making them only accessible from Virtual Storage Conductor, so that the transaction server cannot directly access the disks. Thus, you should set zoning between the virtualization switch and storage (channel adapter).
Each virtualization switch has multiple mechanisms (called virtual initiators) used to exchange data with the storage. The virtual initiator logically corresponds to the host bus adapter (HBA) of the transaction server with WWPN attached. You may use the WWPN of the virtual initiator to set zoning between the virtualization switch and storage.
To have all physical disks virtualized under one channel adapter (CA):
Use the virtualization switch function to set zoning between the virtualization switch and the channel adapter (CA) concerned.

To virtualize certain physical disks but not others under one channel adapter (CA):
Consider the virtualization switch as one server for the sake of convenience.
Classify the physical disks into groups for virtualizing and assigning to each transaction server. Then, assign each classified group of physical disks to each transaction server using "Set Host Connection" of the storage.
Since it is not possible to set all virtual initiators in "Set Host Connection" of storage in the ETERNUS3000 M50 and GR710, set the physical disks to be virtualized and those not to be virtualized separately under each channel adapter (CA).
